Yamaha Blaster Carburetor Diagram . 37 mikuni carb diagram yamaha Diagram For You Shop online for OEM Carburetor parts that fit your 2004 Yamaha BLASTER (YFS200S), search all our OEM Parts or call at (503) 669-2000 3 JET, PILOT (#32.5) 260-14142-32-00 In Stock $9.49 $8.06.
Yamaha Mikuni Carburetor Diagram from fity.club
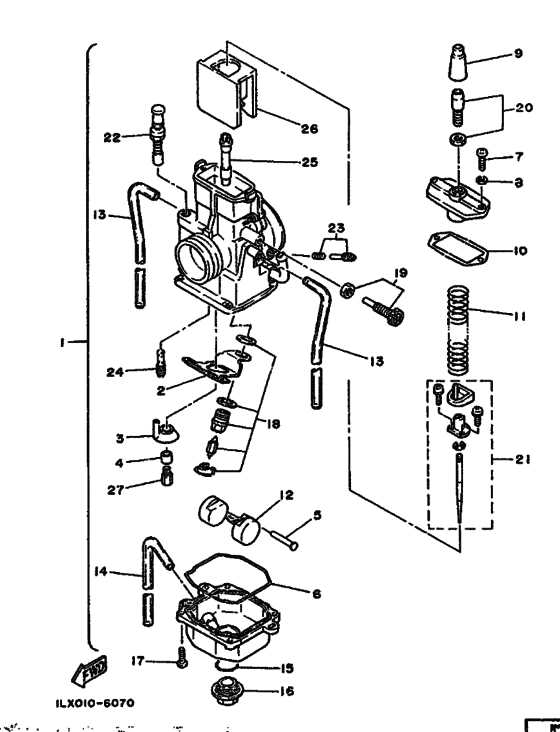
2004 Yamaha BLASTER (YFS200S) Carburetor Change Assembly 3 JET, PILOT (#32.5) 260-14142-32-00 In Stock $9.49 $8.06.
Yamaha Mikuni Carburetor Diagram The page you are currently on is for 2005 Yamaha YFS200T Blaster parts The Yamaha Blaster parts diagram is a detailed illustration that provides a visual representation of each component of the ATV A clear diagram can provide insight into the positioning and connection of each.
Source: wiringall.com StepbyStep Guide 2003 Yamaha Blaster Carburetor Diagram and , YFS200 Service Repair Manual (LIT-11616-07-20) - 1988-2006; YFS200P Supplementary Service Repair Manual (LIT-116-15-05) - 2001; YFS200R Supplementary Service Repair Manual (LIT-11616-16-37) - 2002 (2003+ supplement) Yamaha Blaster Owner's Manual. Thread starter slickerthanyou; Start date Dec 28, 2011; Yamaha Blaster Parts & Support.
Source: fity.club Yamaha Mikuni Carburetor Diagram , YFS200 Service Repair Manual (LIT-11616-07-20) - 1988-2006; YFS200P Supplementary Service Repair Manual (LIT-116-15-05) - 2001; YFS200R Supplementary Service Repair Manual (LIT-11616-16-37) - 2002 (2003+ supplement) Yamaha Blaster Owner's Manual. Shop online for OEM Carburetor parts that fit your 2004 Yamaha BLASTER (YFS200S), search all our OEM Parts or call at (503) 669-2000
Source: fity.club Yamaha Mikuni Carburetor Diagram , 2004 Yamaha BLASTER (YFS200S) Carburetor Change Assembly Some useful info for the stock carb users!! Notice there is part numbers for caps, cable adjusters, and idle adjustment for all you tors elimator guys! The #1 Community For Yamaha Blaster Owners! Search
Source: pcacraneswa.pages.dev Yamaha Blaster Engine Diagram , Thread starter slickerthanyou; Start date Dec 28, 2011; Yamaha Blaster Parts & Support. A clear diagram can provide insight into the positioning and connection of each.
Source: www.artofit.org Yamaha blaster engine parts diagram Artofit , Carburetor: The carburetor is responsible for mixing air and fuel in the proper ratio for. These components work together to ensure smooth performance, efficient fuel consumption, and optimal power output.
Source: wiringall.com StepbyStep Guide 2003 Yamaha Blaster Carburetor Diagram and , Some useful info for the stock carb users!! Notice there is part numbers for caps, cable adjusters, and idle adjustment for all you tors elimator guys! The #1 Community For Yamaha Blaster Owners! Search The page you are currently on is for 2005 Yamaha YFS200T Blaster parts
Source: stylebyjzdu.pages.dev Yamaha Blaster Parts Diagram , 3 JET, PILOT (#32.5) 260-14142-32-00 In Stock $9.49 $8.06. The Yamaha Blaster parts diagram is a detailed illustration that provides a visual representation of each component of the ATV
Source: fity.club Yamaha Mikuni Carburetor Diagram , Thread starter Papasmokes420; Start date Jan 17, 2013; Yamaha Blaster Parts & Support YFS200 Service Repair Manual (LIT-11616-07-20) - 1988-2006; YFS200P Supplementary Service Repair Manual (LIT-116-15-05) - 2001; YFS200R Supplementary Service Repair Manual (LIT-11616-16-37) - 2002 (2003+ supplement) Yamaha Blaster Owner's Manual.
Source: diagramweb.net Yamaha Blaster Carburetor Diagram , The internal mechanisms of this all-terrain vehicle's power system consist of several essential elements, each playing a critical role in the overall operation Some useful info for the stock carb users!! Notice there is part numbers for caps, cable adjusters, and idle adjustment for all you tors elimator guys! The #1 Community For Yamaha Blaster Owners! Search
Source: fity.club Yamaha Mikuni Carburetor Diagram , Thread starter slickerthanyou; Start date Dec 28, 2011; Yamaha Blaster Parts & Support. It relies on various subcomponents such as the carburetor, exhaust system, and ignition system to function efficiently.
Source: thekdbatg.pages.dev 37 mikuni carb diagram yamaha Diagram For You , These components work together to ensure smooth performance, efficient fuel consumption, and optimal power output. Use our exploded Yamaha Blaster parts diagrams to locate the precise YFS200T parts for your Blaster, then enjoy the big savings thanks to the deep discounts we apply to all our OEM Blaster parts.
Source: stewart-switch.com Yamaha Blaster Carburetor Diagram , It relies on various subcomponents such as the carburetor, exhaust system, and ignition system to function efficiently. CARBURETOR ASSY 1 5VM-14101-00-00 Unavailable 2 GASKET, FLOAT CHAMBER 304-14184-00-00 In Stock $13.49 $10.63 Add
Source: wiringall.com StepbyStep Guide 2003 Yamaha Blaster Carburetor Diagram and , The internal mechanisms of this all-terrain vehicle's power system consist of several essential elements, each playing a critical role in the overall operation Someone send me a vaccuum fuel line diagram for a 1989 blaster carb
Source: dsmtimesepr.pages.dev Yamaha Blaster Carburetor Diagram Yamaha Old Bikes List , Some useful info for the stock carb users!! Notice there is part numbers for caps, cable adjusters, and idle adjustment for all you tors elimator guys! The #1 Community For Yamaha Blaster Owners! Search It relies on various subcomponents such as the carburetor, exhaust system, and ignition system to function efficiently.
Source: stewart-switch.com Yamaha Blaster Carburetor Diagram , From the engine to the exhaust system, the diagram allows you to identify and understand the function of every part. Aftermarket carbs over about 30mm often have a bigger fitting.
QT50 Carb Diagram and basic carb adjustments Yamaha QT50 luvin and . Explore the Yamaha Blaster parts diagram for detailed information on the components and their arrangement for easy repair and maintenance. 3 JET, PILOT (#32.5) 260-14142-32-00 In Stock $9.49 $8.06.
StepbyStep Guide 2003 Yamaha Blaster Carburetor Diagram and . From the engine to the exhaust system, the diagram allows you to identify and understand the function of every part. Someone send me a vaccuum fuel line diagram for a 1989 blaster carb